131美女爱做视频,曰本真人性做爰全过程视频,性做爰aaa片免费看大尺度,欧洲乱码卡一卡二,丰满少妇被猛烈进入av久久

選擇城市
更多
點贊
評論
收藏
分享
問編輯
當前位置:
電池裝車頂 福特申請汽車充電寶專利
陳浩
陳浩
原創(chuàng) · 0瀏覽·2023-06-10 09:54 · 北京
關注

[汽車之家 資訊] 日前,福特汽車在美國專利和商標局提交了一份電動汽車外置電池的專利,給電動汽車帶來額外的電量,可以說就是個大號的汽車充電寶。

汽車之家

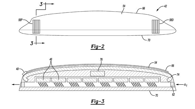
該專利文件顯示,這款備用電池可以由車主自行安裝和拆卸,具有一定的靈活性。電芯被安裝在一個類型于車頂旅行箱的外殼中,這個外殼由一個蓋子與內襯泡沫的托盤組成,外殼兩側留有空氣通道,用以冷卻電池,此外還擁有防水、保溫、密閉的特點。

汽車之家

這塊電池擁有一條放電線,可以插在汽車充電口上為汽車充電。此外,它還包含有一個控制模塊,可以與車輛的通信模塊進行無線連接,方便車主在車內對電池進行相關控制。

不過問題來了,動力電池是比較重的,用戶自己安裝/拆卸可能是一個問題,另外把這么一大塊電池裝在車頂,車輛的重心提高,可能會帶來額外的風險。(編譯/汽車之家 陳浩)

文章標簽
點贊
評論
收藏
分享
舉報/糾錯
2025/11/11 12:56:48